This patent and its diagrams share similar design ideas with the ‘Yukon’ system mentioned in the ‘Xbox 720’ leak of May this year. It shows a multi-CPU and multi-GPU hardware design.
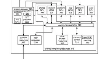
The patent in question is application 20120159090 with the US Patents and Trademark Office. The attached diagrams suggest Microsoft is considering dedicated CPU/GPU.
One design has CPU/GPU for the dashboard and another purely for ‘applications’ which would mean videogames, with room for a third group potentially lending aid to the other two. It’s all rather extensive and full of boxes and little arrows mapped out. Eurogamer has a write up on the findings.
This patent is rather old by now and up-to-date rumblings all have Project Durango pegged as a more traditional console design with fixed specifications. At least we know what Microsoft engineers dream of.